УОВ-УФТ-А-1-500 Пром
Назначение бактерицидной установки
Бактерицидная установка УОВ-УФТ-А-1-500 Пром предназначена для обеззараживания ультрафиолетовым излучением питьевой воды в закрытых помещениях при t +5 С° +35 С° и влажностью до 80%. Требования к исходной воде для обеззараживания по физическо-химическим показателям в соответствии с СанПин 2.1.4.1074-01 , СанПин 2.1.5.980-00, МУК 4.3.2030-05.
Описание и конструкция УОВ
Установка обеззараживания воды

| Варианты исполнения камеры обеззараживания | |||
|---|---|---|---|
|
Г |
П | И | Т |
![]() |
![]() |
|
|
Основные характеристики УОВ-УФТ-А-1-500 Пром для питьевой воды
Производительность бактерицидной установки зависит от коэффициента (Т) пропуска уф-лучей; величины дозы облучения (мДж/смІ), от физико-химических и микробиологических показателей качества исходной воды.
| Коэффициент (Т) пропускания водой УФ-лучей | ||||||
|---|---|---|---|---|---|---|
| Т > 90% | Т > 85% | Т > 80% | ||||
| Эффективная доза УФ-облучения, мДж/см2 | 25 | 40 | 25 | 40 | 25 | 40 |
| Расчётная производительность, м3/ч | 60 | 35 | 50 | 30 | 28 | 18 |
| Потеря напора в зависимости от расхода воды через установку, м вод.ст. | 1,7 | 0,84 | 1,4 | 0,68 | 1,08 | 0,49 |
| Ресурс выработки ламп | 12000 ч | |||||
| Количество вкл./выкл | минимум 5000 | |||||
| Рабочее давление, не более | 10 кг/см2 | |||||
| Тип УФ - ламп / модель | ДБ-500 / GPHHVA-1125Т10 | |||||
| Количество уф-ламп | 1 шт. | |||||
| Габариты блока питания облучателей ЭПРА | 910 мм х 260 мм х 90 мм | |||||
| Система контроля работы БСК-2 | 200 мм х 150 мм х 55 мм | |||||
| Напряжение питания, ном. | 220 В | |||||
| Частота тока | 50 Гц | |||||
| Коэффициент мощности | не менее 0,96 Cos | |||||
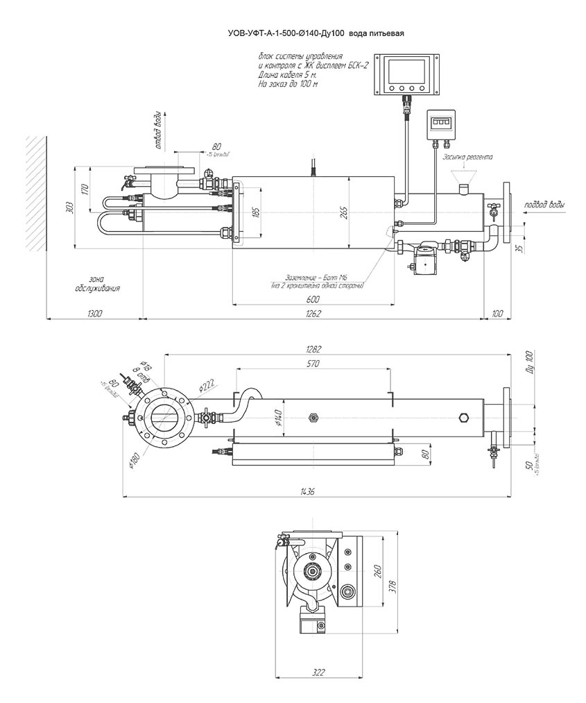
| Материал камера обеззараживания | нержавеющей стали 12х18н10т для пищевого применения | |||||
| Объем камеры обеззараживания | 17,8 л | |||||
| Габариты камеры обеззараживания, | 1456 мм х 310 мм х 322 мм | |||||
| Присоединительный размер | Ду100 | |||||
| Потребляемая мощность | 0,55 кВт | |||||
| Масса | 35 кг | |||||
Комплект поставки УОВ-УФТ-А-1-500 Пром
- Камера обеззараживания из нержавеющей стали - 1 шт.
- ЭПРА (блок питания облучателей) - 1 шт.
- БСК-2 (система контроля с ЖК-дисплеем) - 1 шт.
- БП-2 (блок промывки) - 1 шт.
- Термодатчик - 1 шт.
- УФД-280 (датчик интенсивности уф-облучения) - 1 шт.
- Бокс с автоматическим выключателем - 1 шт.
- Ключ для затяжки прижимной гайки - 1 шт.
- Паспорт и инструкция по эксплуатации - 1 шт.
- ЗИП - согласовывается при заказе.
- Безопасная упаковка для транспортировки.
Когда происходит ухудшение эпидемических показателей - возникает угроза появления в источниках водоснабжения высоких концентраций различных энтеровирусов. В УФ-стерилизаторе можно увеличить дозу облучения воды путём снижения объёмов её обработки (мі/ч), а чтобы компенсировать снижение производительности - необходимо устанавливать дополнительные (резервные) уф-обеззараживатели воды. Величина дозы УФ-лучей, также находится в прямой зависимости от объёмов обрабатываемой воды. Тем не менее, в МУ 3.2.1757-03 обозначено, что эпидемическая безопасность воды по паразитологическим показателям достигается при обеззараживании её уф-облучением в дозах:
для питьевой воды - 40-45 мДж/см2, для сточной, технической воды - не менее 65 мДж/см2 |
| Изготовитель : | UV-Tech |
| Производительность (условная), м3/час: | 2,5, 5,0 |
| Потребляемая мощность, Вт: | 550 |
| УФ-датчик: | Есть |
| Термодатчик: | Есть |
| Счётчик времени наработки: | Есть |
| Счётчик вкл./выкл. ламп: | Есть |
| Дополнительные датчики: | Нет, опция |
| Блок промывки: | Есть |
| Лампы, шт: | 1 |
| Тип уф-лампы: | ДБ-500 / GPHHVA-1125Т10 |
| Страна производства: | Россия |
| Гарантия производителя, мес: | 18 |






